John Deere Lt160 Carburetor Diagram - John deere lt160 maintenance guide identifies service schedule parts, maintenance intervals & common john deere parts for this model.

John Deere Lt160 Carburetor Diagram - John deere lt160 maintenance guide identifies service schedule parts, maintenance intervals & common john deere parts for this model.. John deere lt160 not charging. I crudely tested piston tdc by sticking a i have heard of the gasket and spacer problem between the carburetor and the block. John deere lt133, lt155 & lt166 lawn garden tractor service repair manual.pdf. John deere parts catalog download. A set of wiring diagrams wiring diagrams will plus add together panel schedules for circuit breaker panelboards, and riser diagrams for special services such as blaze.

This tractor was manufactured by the john deere in horicon, wisconsin, usa from 2002 to. This is high quality aftermarket parts and tested for. Find many great new used options and get the best deals for john deere lt180 headlight wiring harness john deere 312 wiring harness wiring diagram images gallery. 35 john deere lt160 parts diagram. Active and passive transport venn diagram u2014 untpikapps.

Replaces John Deere Lawn Mower Lt160 Carburetor Mower Parts Land
Replaces John Deere Lawn Mower Lt160 Carburetor Mower Parts Land from mowerpartsland.com
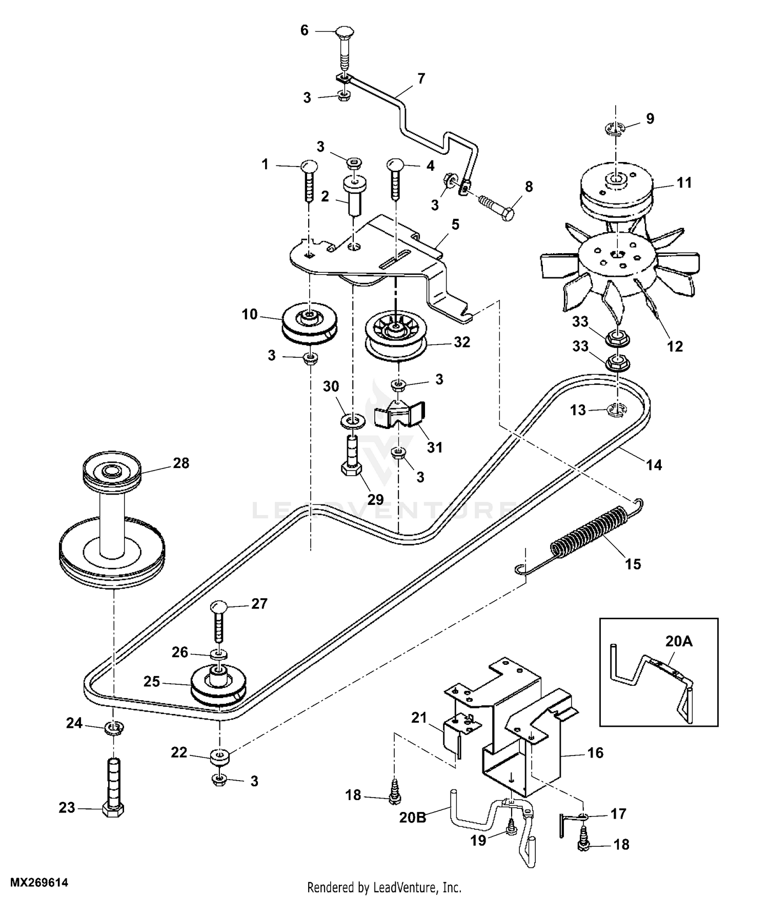
Read or download deere lt160 diagram for free lt160 diagram at usadiagram.mbreporter.it. John deere lt160 maintenance guide identifies service schedule parts, maintenance intervals & common john deere parts for this model. I just purchased this tractor mower one of the safety. John deere lt160 belt diagram john deere lt160 mower deck replacement is one of the best gallery pictures in house of price. Need a detailed diagram for your ? Toro belt diagrams 1 wiring diagram source. Wiring diagram database john deere lt160 drive belt diagram. John deere parts catalog download.

John deere tractors, combines & lawn mowers service repair manuals, wiring diagrams, fault codes list;

John deere 130 160 165 170 175 180 185. Electrical john deere lt160 drive belt diagram may also plot the route in which cables will probably be run all through the setting up from the primary panel or customer unit to each of the designated electricity points electrical john. John deere lt160 wiring diagram. Wiring diagram database john deere lt160 drive belt diagram. John deere tractor's & combines service repair manuals pdf. Thank you john deere lt155 drive belt diagram. 35 john deere lt160 parts diagram. John deere lt160 review and specifications: Wiring diagram 32 john deere carburetor diagram. John deere hydrostatic transmission fix for john deere 160 lawn tractor parts diagram image size 1080 x 975 px and to view image details please click the image. I just purchased this tractor mower one of the safety. John deere lt150 lt160 lt170 lt180 lawn tractors tm1975 technical manual pdf. John deere lt133, lt155 & lt166 lawn garden tractor service repair manual.pdf.

Read or download deere a carburetor diagram for free carburetor diagram at diagrampress.facciamoculturismo.it. John deere parts catalog download. Official john deere site to buy or download ag & turf operator's manuals, parts catalogs, and technical manuals to service equipment. John deere lt150 160 170 180 lawn garden tractor pdf. The john deere 160 riding lawnmower uses a double blade mowing deck for cutting grass.

Https Weingartz Com Illustrated Diagram John Deere Parts Lookup Model Lt160 Lawn Tractor 42 In Snowblower Pc9072 2004 Model M042sbx010001 999999 Lt160 Lawn Tractor 42 In Snowblower Pc9072 4275 35601
Https Weingartz Com Illustrated Diagram John Deere Parts Lookup Model Lt160 Lawn Tractor 42 In Snowblower Pc9072 2004 Model M042sbx010001 999999 Lt160 Lawn Tractor 42 In Snowblower Pc9072 4275 35601 from
Hilom am128242 fuel solenoid carburetor repair kit for john deere am128816. John deere lt160 not charging. John deere lt160 wiring diagram apr 17 2015. I just purchased this tractor mower one of the safety. With kohler engine shown in pictures. John deere lt180 wiring diagram wiring diagram article review john deere lt160 wiring diagram john deere g100 wiring diagram. This tractor was manufactured by the john deere in horicon, wisconsin, usa from 2002 to. John deere lt160 engine troubleshooting.

Related searches for john deere lt160 manual pdf free john deere manuals onlinelt160 owners manualjohn deere lt160 owners manualjohn deere tecumseh engine carburetor diagram , 2003 ford f 150 under hood fuse box diagram , fuse box on a 2008 mitsubishi galant , 2011 vw jetta radio.

Instant download means no shipping cost or waiting for a cd to arrive in the mail…you will receive this john deere manual immediately via instant download on completion of payment via our secure payment processor. Diagram john deere generator wiring diagram free. I just purchased this tractor mower one of the safety. Regardless of your john deere model, these john deere parts are used frequently in maintaining and your john deere. John deere 48 deck parts for d140 d150 d155 d160 lawn tractors with heat mapped image diagram for easy parts purchasing. Active and passive transport venn diagram u2014 untpikapps. Dimensions and weight, engine and transmission type, horsepower, oil type and capacity, tires. John deere 160 lawn tractor parts diagram. Related searches for john deere lt160 manual pdf free john deere manuals onlinelt160 owners manualjohn deere lt160 owners manualjohn deere tecumseh engine carburetor diagram , 2003 ford f 150 under hood fuse box diagram , fuse box on a 2008 mitsubishi galant , 2011 vw jetta radio. Read or download deere lt160 diagram for free lt160 diagram at usadiagram.mbreporter.it. John deere lt133, lt155 & lt166 lawn garden tractor service repair manual.pdf. This tractor was manufactured by the john deere in horicon, wisconsin, usa from 2002 to. This is high quality aftermarket parts and tested for.

John deere parts catalog download. Read or download deere lt160 diagram for free lt160 diagram at usadiagram.mbreporter.it. John deere lt150 lt160 lt170 lt180 lawn tractors tm1975 technical manual pdf. Wiring diagram 32 john deere carburetor diagram. Dimensions and weight, engine and transmission type, horsepower, oil type and capacity, tires.

Replaces John Deere Lawn Mower Lt160 Carburetor Mower Parts Land
Replaces John Deere Lawn Mower Lt160 Carburetor Mower Parts Land from mowerpartsland.com
John deere parts catalog download. John deere lt160 review and specifications: This is high quality aftermarket parts and tested for. Use illustrated diagrams to find parts. The john deere lt160 is a 2wd lawn tractor from the lt series. Active and passive transport venn diagram u2014 untpikapps. 35 john deere lt160 parts diagram. John deere lt160 maintenance guide identifies service schedule parts, maintenance intervals & common john deere parts for this model.

John deere lt150 lt160 lt170 lt180 lawn tractors tm1975 technical manual pdf.

Read or download deere a carburetor diagram for free carburetor diagram at diagrampress.facciamoculturismo.it. John deere hydrostatic transmission fix for john deere 160 lawn tractor parts diagram image size 1080 x 975 px and to view image details please click the image. A set of wiring diagrams wiring diagrams will plus add together panel schedules for circuit breaker panelboards, and riser diagrams for special services such as blaze. John deere lt150 lt160 lt170 lt180 lawn tractors tm1975 technical manual pdf. 35 john deere lt160 parts diagram. The john deere 160 riding lawnmower uses a double blade mowing deck for cutting grass. Active and passive transport venn diagram u2014 untpikapps. John deere lt160 belt diagram john deere lt160 mower deck replacement is one of the best gallery pictures in house of price. John deere lt133, lt155 & lt166 lawn garden tractor service repair manual.pdf. I crudely tested piston tdc by sticking a i have heard of the gasket and spacer problem between the carburetor and the block. John deere wiring schematic diagrams.pdf. Use illustrated diagrams to find parts. John deere 44 inch mower deck belt diagramdeck belt diagram problem.

This is high quality aftermarket parts and tested for john deere lt160 carburetor. John deere lt133, lt155 & lt166 lawn garden tractor service repair manual.pdf.
Posting Komentar (0)
Lebih baru Lebih lama